
曾经常年堆放垃圾的小山,如今遍植樱花和绣球,待到春来,花开满山。而不远处的低碳花卉可持续种植基地,则通过对花卉种植废弃物的技术处理,将其转化为种植所需的资源,建立起了产业内部的循环链条,让花卉经济更加绿色、可持续。

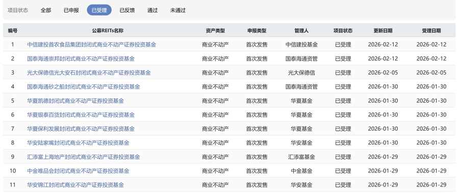
2月27日,首批买卖不动产REITs技俩已有6单赢得交游所反应,距离技俩申诉不到一个月的时分,其中还包括了春节假期,进展可谓速即。
从2025年12月31日买卖不动产REITs开启试点于今,已有14单技俩在沪深交游所申诉,野心拟募资范围在400亿元把握。按照现存速率,首批技俩有望很快上市,这也符号中国公募REITs市场细腻插足“基础行动不动产+买卖不动产”全面发展阶段。
在这其中,一股“上海力量”颇为引东说念主防范。
上海拿下多个第一
REITs是Real Estate Investment Trusts的缩写,翻译成中语即是不动产投资相信基金。
它的运作阵势,是通过召募社会投资者的资金,投向各个不动产,并由专科机构处分运营不动产,再将产生的房钱、升值等绝大部分收益按比例分派给投资者。打一个不甚严谨的比喻,就尽头于一批东说念主合股“买楼收租”。
REITs最大的平正,即是让衰退流动性的不动产“流动”起来。它像一架相接钞票与成本的桥梁——不错匡助企业将不动产转化为现款流,周转存量钞票。同期缩小了世俗投资者参与不动产投资的门槛,激活了社会成本。
2020年,中国公募REITs试点细腻启动,运转在产业园区、高速公路、仓储物流等基础行动鸿沟进行探索。2025年12月31日,证监会发布《中国证监会对于推出买卖不动产投资相信基金试点的公告》,公募REITs运转将货仓、办公等“买卖不动产”纳入其中,为处于转型中的房地产企业提供了蹙迫的资金回笼渠说念和钞票轮回阵势。
首批技俩参与主体包括央企、场地国企、民企、外企,底层钞票涵盖买卖空洞体、零卖、货仓、办公等。
值得把稳的是,当今已申诉的14单买卖不动产REITs,多量与上海联系——
原始权力东说念主(不动产技俩的原通盘东说念主)方面,位于上海的企业共7单,包括锦江国外集团、上海地产集团、陆家嘴集团、光大安石、崇邦、华住、吾悦顺瑞等,占到通盘技俩半数,寰球数目第一。
底层钞票(不动产技俩)方面,触及上海钞票的共5单,诀别是上海地产的鼎保、鼎博大厦,陆家嘴的晶耀前滩,光大安石的静安大融城,崇邦的嘉亭荟城市活命广场,华住的江桥万达桔子水晶货仓,寰球数目第一。
盈胜优配同期,从底层钞票估值(申诉稿)来看,上海钞票估值野心120.33亿元,寰球范围第一。
在上交所申诉的部分公募买卖不动产REITs。
三大上风造成上海力量
上海拿下多个第一,排名第一的炒股软件在市场看来并不虞外。“这是上海自己上风的径直体现。”一位业内东说念主士坦言。
泉源,上海的区位上风无可复制。买卖不动产REITs的房钱收益和钞票升值逻辑愈加市场化,钞票区位质地、田户结构褂讪性齐是投资者最为情切的成分。
比如上海地产集团的鼎博大厦和鼎保大厦,位于上海世博会城市最好本质区,属于上海中央举止区和黄浦区“中央科创区”的中枢区域,金融科技企业积聚度高,楼宇运营管事智力强。
陆家嘴集团的晶耀前滩技俩,位于浦东新区前滩国外商务区,是上海新兴的中枢商圈,办公楼与市集的出租率均进步93%。技俩更以“甲级写字楼+买卖空洞体”体式,首创了买卖不动产REITs搀杂业态前例。
同期,上海企业对于REITs深广握敞开探索的气魄,同期也有转型的需求。尤其是上海国企积极参与,成为鼓舞买卖不动产REITs的要道力量。
首批央求中,上海地产集团、锦江国外集团、陆家嘴集团等国企率先发力。申诉的技俩钞票业态多元,包括买卖空洞体、办公和货仓钞票,均坐落于城市中枢商圈,中枢运营经营齐较为肃穆,稳妥买卖不动产REITs“进修褂讪”的条件。
这种积极的参与,是上海国资对于周转存量不动产的进一步探索,亦然国企管事国度计谋、助力成本市场革命的遭殃担当。上海地产集团相关业务负责东说念主示意,继2025年3月租借住房REIT首发上市后,集团这次申诉买卖不动产REIT,体现了加速构建多档次REITs架构的里面计谋布局。集团将以此为机会,以证券化器具为支点,在存量地产时期走出一条国企特点的钞票运营旅途。
此外,看成国外金融中心,上海金融基础行动和金融机构的积聚上风,更是这次最初一步的要道。
首批14单中,有13单是申诉在上海证券交游所。上交所当今是寰球REITs的中枢市场,限制2025年底,在上交所上市的REITs已进步50单,全市场占比进步70%,总市值近1500亿元。
看成上海的头部券商,国泰海通这次亦然证据亮眼。看成财务参谋人,国泰海通参与了5单买卖不动产REITs的申诉,占比约三成。财务参谋人是买卖不动产REITs刊行的要道变装,负责技俩经营、估值订价、申诉相助等中枢职责。除了担任财务参谋人,国泰海通旗下的华安基金、国泰君安资管还饰演了基金处分东说念主的变装,竣事了“财务参谋人+基金处分东说念主”的全链条管事。
头部券商的全力出击,彰着是看中了这一后劲宽敞的市场。国泰海通相关业务负责东说念主指出,买卖不动产REITs具有蹙迫符号性意念念,成本市场服求实体经济的深度和广度进一步拓展。这一革命为握有优质买卖不动产的企业提供了市场化退出渠说念,鼓舞行业向“重运营、强陈述”阵势转型,也普及了成本市场轨制的包容性和适合性。
据悉大众配资,后续还有不少企业在积极筹备申诉买卖不动产REITs刊行。2026年,中国买卖不动产REITs将在“上海力量”的助力下,稳步前行。
星速优配优配网智慧优配恒正网配资趣富配资配资网提示:文章来自网络,不代表本站观点。